Abu Garcia

キャストはストレスの無い新次元へ!
独自のアルゴリズムが電子制御を変えるVOLTIQ

Abu Garcia独自の電子制御キャスティングブレーキシステムであり、同社が1990年代に世界に先駆けて研究開発及び特許取得した技術がVOLTIQ™のベースにあります。(米国特許US6412722B1)
この技術に磨きをかけ最先端のマイクロコントローラーや電子部品を搭載し、さらに独自のアルゴリズムを持ったファームウエアにより完成したキャスティングブレーキシステムがVOLTIQ™です。

slide slide slide slide slide slide slide slide slide slide slide slide slide slide slide slide

Features & Functions

Abu Garciaリール開発担当のTonyがVOLTIQ™電子制御ブレーキシステムについて詳しく紹介。10段階のレンジを持ったリニアに強弱を調整可能なブレーキシステム、独自のアルゴリズムにより完成したブレーキポーズシステム、IPX8相当の防水機能など、VOLTIQ™の特長を解説。

01

10段階のレンジを持った

リニアに強弱を調整可能なブレーキシステム

従来のマグネットブレーキシステムは磁力、遠心ブレーキは湿気やリールの角度などの影響を受け、全てのキャストを完全に安定させることは不可能でした。
しかしながら、このVOLTIQ電子制御ブレーキシステムではピッチング時などの回転数、約2000rpm以上であればブレーキが作動し、スプール回転数とダイアルセッティングに応じ、常に同じブレーキ力をかけることができます。これによりピッチングやロングキャスト、フロロカーボンラインやPEライン、追い風や向かい風等、あらゆる状況下でもダイアルセッティングとスプール回転数に応じたブレーキをかけバックラッシュを緻密にコントロールし、安定したキャストを実現します。スプール回転約2000rpmの低速領域からブレーキ作動開始できるシステムであり、ピッチング等でも安定したブレーキをかけることが可能です。

VOLTIQには大きく分けて2タイプのブレーキモードが搭載されています。ダイアル1-3がプロモード、ダイアル4-10がレギュラーモードになります。

02

ブレーキポーズシステム

ダイアル1-3のプロモードにはブレーキポーズシステムが組み込まれています。
ブレーキポーズは以下理論を元に生み出されました。キャスト開始後スプール回転数が最速になるまでの加速している間は、糸が飛行するルアーに引っ張られるため、この間でのバックラッシュは非常に稀です。理論上このスプール回転加速中はブレーキをかける必要がなく、ブレーキをかけた場合は飛距離の低下を招くことになります。
通常のマグネットブレーキや遠心ブレーキではこのスプール回転加速中でもブレーキがかかってしまい、飛距離を低下させてしまいます。スプール回転加速中にブレーキを作動させないアルゴリズムがブレーキポーズシステムになります。

VOLTIQ™独自のシステムは、スプール回転により生まれた電力をマイクロコントローラーへ給電し、マイクロコントローラーが動き出すタイミングがT0になります。マイクコントローラーが動き出すT0タイミングからT1タイミングの間のスプール回転情報からスプール最大回転数となるT2のタイミングを予測します。

このT2予測値に基づきブレーキを作動開始させるアルゴリズムになります。ダイヤル設定1-3のプロモードを選択すれば、スプール回転加速中(0からT2間)にブレーキを作動せず、飛距離の最大化や、軽い力でのキャストを可能にします。

03

IPX8 防水性能

VOLTIQ™ユニットはシーリングされ、IPX8相当の防水処理が施されています。ウェーディングの釣り等で不意にリールが水に浸かっても、内部の電子部品へのダメージを防ぐことができます。

feature 03-1
feature 03-2
feature 03-3
04

電池不要、充電不要のVOLTIQ™サウンド

キャスティングの最中に、VOLTIQ™ブレーキの作動が始まると、サウンドを発生します。このVOLTIQ™サウンドにおいては、音楽家とともに研究を進め、人間が心地よく感じる周波数帯を設定しております。(リールを素早く巻き取ると、このVOLTIQ™サウンドが聞こえることがありますが、異常ではありません)

VoltiQ Special Movie

スペシャルムービー
インプレッションムービー

VOLTIQ × 今江 克隆

VOLTIQ × 塩津 紀彦

VOLTIQ × 木村 建太

VOLTIQ 電子制御ブレーキシステム

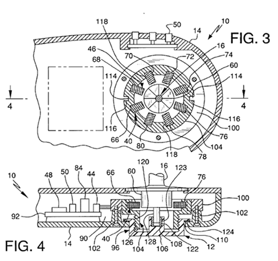
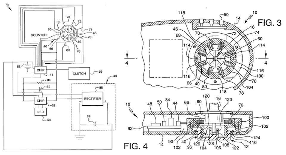
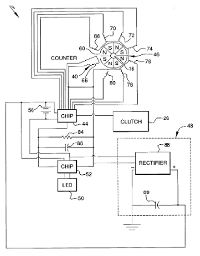
VOLTIQ電子制御ブレーキシステムは1999年にJohn W .Chapmanがピュア・フィッシングの名前で取得した特許に基づいて開発しました。

フレミングの法則に基づいてスプールの回転とマグネットから生じる磁力を電気信号に変えて、その電気をもとにブレーキ力をかけにいくというシステムが特許の内容になります。(画像①赤枠内参照) ピュア・フィッシングでは1999年からAmbassadeurを元に当ブレーキシステムを開発研究しておりました。(画像②参照)

米国特許 US6,412,722 B1
画像①
リール内部構造
画像②